Техническое описание | Электроника 591-Видео
Это заготовка статьи, возможны неточности. Статья будет дополнена позже.
Оглавление:
Техническое описание
Регулятор скорости
Блок цветности
Усилитель Высоких Частот
Техническое описание
Видеомагнитофон имеет модульную конструкцию - большинство печатных плат расположено на специальной раме, которая может открываться, а платы - съемные благодаря разъемам. На раме расположены следующие платы:
- Блок воспроизведения видеосигнала
- Блок записи видеосигнала
- Регулятор скорости
- Блок звука
- Блок цветности
Следующие платы жестко прикручены к шасси и не имеют разъемов на себе:
- Стабилизатор
- Устройство управления
- Устройство пусковое
- Генератор
- Коммутатор
- УВЧ
- Коммутатор электронный
Регулятор скорости
На плате регулятора скорости всего 2 регулировки: верхний подстроечный резистор отвечает за захват фазы и регулировку скорости БВГ; нижний подстроечный резистор отвечает за аналогичную подстройку для двигателя тонвала. Фото платы синхронизации приведено ниже. Выделены контрольные точки, а так же приведены осциллограммы ключевых аспектов настройки.
В основном все сводится к системе синхронизации. Её схема имеет два раздельных канала: один канал управляет блоком видеоголовок, а другой управляет двигателем тонвала. БВГ синхронизируется всегда от кварцевого генератора, который также используется для получения синхросигналов для камеры (обычно это нужно только для Электроники 841).
Двигатель тонвала синхронизируется либо от синхроголовки, в случае воспроизведения, либо от схемы выделения синхронизации из видеосигнала в случае записи.
В отличие от "классических" видеомагнитофонов - Электроники 501, 590 - здесь общая настройка регулировки скорости (для режимов записи и воспроизведения): если видеомагнитофон не способен синхронизироваться от синхросигнала с ленты, но может в режиме записи, значит неисправность либо в синхроголовке, либо в окружающей её схеме (усилитель воспроизведения синхросигнала, формирователь).
На плате блока регулятора скорости существует проблема шумов на линии земли, это связано с отсутствием разделения земель на печатной плате. Никакой заливки земляным полигоном здесь нет, земля для каскадов синхросистемы приходит тонкой дорожкой через всю плату, попутно собирая разнообразные наводки. Это негативно сказывается на системе синхронизации и может приводить к её срывам.
В моем экземпляре уже решили эту проблему: в одном месте перерезана дорожка и земля подведена к схеме синхронизации отдельным проводом. Так же сделано и для схемы усилителя синхроимпульсов с синхроголовки.
На фото ниже показано, где нужно перерезать дорожку и в каком месте сделать перемычки.
Блок цветности
Блок цветности в Электронике 591 представляет собой модифицированный блок цветности Электроники 508. Если сравнивать схемы этих модулей цветности, то на 80% это одно и тоже. Следствием модификации является усложненная настройка блока цветности. Дело в том, что в нем одни и те же каскады используются и при воспроизведении, и при записи. После регулировки какой-либо настройки нужно производить новую запись. В Электронике 508 наоборот: есть четкое разделение блока цветности на две части, воспроизводящую и записывающую.
Настоятельно не рекомендую вообще когда-либо что-то регулировать или изменять в блоке цветности, процедура настройки очень сложна и очень легко все испортить. К тому же есть вероятность, что блок цветности изначально рабочий. Даже если с цветом что-то неверно, стоит проверить другие варианты неисправности. К примеру, при несоблюдении 180 градусов между видеоголовками на коромысле в БВГ, может наблюдаться искажение цвета в верхней части изображения:
В сервис-мануале на Sony AV-3400 такой случай описывали в разделе Dihedral Adjustment. Это означает, что между двумя видеоголовками не соблюдается угол в 180 градусов. Обычно такая проблема возникает, если видеоголовки менялись и угол между ними вставлен неправильно.
С другой стороны, 591-ому не свойственна такая неисправность, потому что видеоголовки у него с разным наклоном зазора и одна видеоголовка не может считывать информацию другой. Неисправность появляется, если поставить VHS видеоголовки с одинаковым наклоном зазора (с разных барабанов).
Здесь я не буду приводить процедуру настройки блока цветности Электроники 591, потому что я ничего не регулировал в нем. В моем экземпляре блок цветности работал изначально.
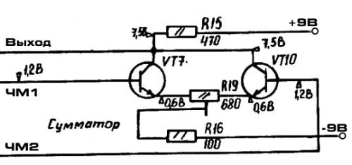
Единственную настройку, которую я могу здесь привести - это настройка баланса ЧМ сигнала при воспроизведении. В режиме воспроизведения ЧМ сигнал с УВЧ приходит на блок воспроизведения видеосигнала, там он не проходит множество стадий обработки, но для блока цветности они не важны, по скольку ЧМ сигналы с УВЧ также приходят в схему сумматора, в котором оба сигнала с двух видеоголовок объединяются и уже объединенный ЧМ сигнал приходит в блок цветности.
Настройку баланса смесителя нужно производить с помощью осциллографа. Видеомагнитофон находится в режиме воспроизведения, на ленту должен быть прописан видеосигнал.
Баланс устанавливается подстроечным резистором R19. Осциллограф можно подключить как непосредственно на выход сумматора, так и на контрольную точку ХК2 на блоке цветности (приведена ниже). Резистором R19 добиться того, чтобы ЧМ сигнал был одной амплитуды. В крайнем положении подстроечного резистора на выходе сумматора будет перекос (один из ЧМ сигналов будет больше).
Симптомы неверно настроенного баланса можно выявить и без осциллографа. При значительном перекосе (амплитуды ЧМ сигналов не равны) у одного поля видеосигнала соответственно будет цветовой шум. Блок цветности вытянет цвет даже из низкого ЧМ сигнала, но будет множество шумов. Глядя на картинку на мониторе и подстраивая резистор R19, шум убирается.
Пример неверной настройки баланса ЧМ сигнала для блока цветности
Усилитель высоких частот (УВЧ, предусилитель)
Электроника 591 был третьим катушечным видеомагнитофоном, в котором попытались воплотить идею "Универсального БВГ". Такой же БВГ применялся также в Электрониках 508М и 509-Видео. Концепция предполагает использовать не только "стандартный" БВГ, но также унифицированную плату в комплекте с БВГ, которая бы усиливала предварительно сигналы с видеоголовок и коммутировала сигнал на запись.
Усилитель высоких частот (УВЧ) усиливает сигнал с видеоголовок, он построен на основе микросхем К838УВ1. Так же одна микросхема применялась в полукадровом видеомагнитофоне Электроника Л1-08. К838УВ1 выполняют роль видеоусилителей. УВЧ имеет прогрессивную на то время схемотехнику, не имеет каких либо настроек, в отличие от других видеомагнитофонов классической серии.
Это упрощает работы по настройке видеомагнитофона, настраивать резонанс и усиление в УВЧ не нужно. Нормально работающий УВЧ этого видеомагнитофона не привносит каких-либо искажений в ВЧ-сигнал. Однако, усилитель на плате не экранирован, как это сделано во всех других видеомагнитофонах. В качестве хоть какой-то экранировки чувствительных цепей платы предполагается использовать крышку над БВГ - на внутренней стороне есть металлическая накладка. Фактически, шум в УВЧ можно внести даже подставив руку к плате. Также шумы отлично проходят от блока питания и внешних источников, УВЧ очень чувствителен к качеству блока питания и отсутствию петель по земле.

